RussianNew York Homepage
Русские концерты на Американской сцене
  News   Events   Dating   Classifieds   Forum   Chat   YP   TV/Video    Photos 
 News Central
В мире
  Политика
  Разное
Бизнес
  Деньги
Общество
  Мода
  Религия
  Светская жизнь
  Шоу Бизнес
  Пикантные новости
  Животные
  Криминал
Спорт
Искусство
  Кино
  Музыка
Авто
Hi-Tech
  Интернет
  Hardware
  SoftNews
Здоровье
Путешествия
Вокруг света
USA
Россия
  
Ресурсы
  Самые последние
  Самые читаемые
Архив
 Другие ресурсы
Все Ресурсы

Рассылки
Газеты
Журналы
ТВ - Online
Радио

Юмор
  Анекдоты
  Игры
  Этикетки
  
Открытки
  Поздравь друга
  
Программа TV
Кино
  Новости кино
  Кинообзоры
  
Музыка
  Радио в internet
  Russian Top
  
Спорт
Web Обзоры Exler.ru
  
Читальный зал
ЭКСпромт - статьи для чайников
Компьютерные игры
Finance News
Автообзоры
Russian America Journal Digest
 Смотрите также
Yellow Pages
Объявления
Чат
Форум
  последнее

Читальный зал
  Стихи
  Проза
  Кулинария

Едем в Америку!
  Иммиграция
  Визы
  Советы

Знакомства
Фотоальбомы
Top Rating
  America TOP
  
Последние новости со всего мира.
 
NEWS CENTRAL >> Вокруг света

Вокруг света

Google запатентовал использование местоположения в рекламе
10:43AM Tuesday, Mar 2, 2010
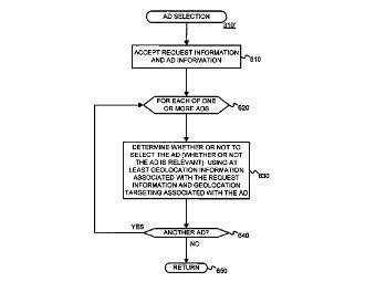
Иллюстрация из патента Google
Корпорация Google запатентовала идею использования местоположения потребителя для показа рекламных объявлений, пишет DigitalBeat. Соответствующее свидетельство выдало Бюро по регистрации патентов и товарных знаков США.

Авторы изобретения предлагают учитывать местоположение в качестве одного из параметров, определяющих релевантность показываемых рекламных объявлений. Кроме того, местоположение можно связать с ценами на рекламу, а также выбрать в зависимости от географических данных одну из нескольких рекламных страниц.

Таким образом пользователь сможет, например, по запросу "кофейня" увидеть рекламу кофеен, находящихся в радиусе километра.

Заявку на получение данного патента Google подал шесть лет назад. В настоящее время географические координаты, получаемые с помощью навигационных модулей, либо просто запрашиваемые у пользователя, уже широко используются участниками рынка онлайновой рекламы.

Пока неизвестно, как Google воспользуется полученным патентом и применит ли его по отношению к конкурентам. Корпорация в последние несколько месяцев активно развивает мобильную рекламу. Патент на географическую привязку объявлений даст Google, недавно купившему оператора мобильной рекламы AdMob, преимущество перед другими компаниями.

По материалам lenta.ru
« « Вернуться       Далее » »
Другие новости по теме
  • Изо льдов Балтики освободили все суда
  • Швеция обнародовала техданные о подлодке нового поколения
  • В Мексике на скорости перевернулся автобус, 9 погибших, 21 раненый
  • Задержанные в Чехии студенты из России не знают причин происходящего
  • Бюро переписи населения США окажет помощь русскоязычному населению в заполнении анкет
  • США отказались выступить посредником в споре о Фолклендах
  • Мемуары Лоры Буш выйдут в свет через два месяца
  • Социальные интернет-сети помогли эвакуировать 500 тысяч гавайцев в связи с угрозой цунами
  • Пресс-секретарь Обамы не спешит выполнять условия "хоккейного" пари, проигранного канадскому коллеге
  • В США арестованы активы "Аль-Каиды" на 11,2 млн долларов
  • В Чили разбился самолет спасательной службы: шестеро погибших
  • Кризисы в отношениях России и Франции преодолены: их лидеры называют друг друга партнерами и говорят об отмене виз
  • В Лондоне арестован бывший вице-президент Боснии и Герцеговины Эюп Ганич
  • Корабль НАТО потопил пиратское судно
  • Корабль НАТО затопил у берегов Сомали плавучую базу пиратов
  • Пассажир дешевой авиакомпании от жадности съел выигранный на борту лотерейный билет в 10 тысяч евро

    Далее » »   Digest | Архив »    
Смотрите также: В мире, Бизнес, Общество, Спорт, Искусство, Авто, Hi-Tech, Здоровье, Путешествия, USA, Россия
 
Читайте также:

Анонсирована новая игра про Лару Крофт

В Киргизии насильник получил пожизненное заключение

Бывший вице-мэр Сочи создаст две крупные гостиничные сети

Михаил Горбачев отпраздновал свое 79-летие в Германии

Sony восстановила соединение PlayStation 3 с PSN

Прохоров продолжит судиться за аванс в 40 миллионов евро


В столице Киргизии произошло сильное землетрясение

Сухопутную границу РФ и Грузии за день пересекли шесть человек

В Лондоне задержан бывший президент Боснии Эюп Ганич

Мутко готов уйти с поста министра спорта

В Германии выпустили на свободу убежденного отрицателя Холокоста

Игра Heavy Rain возглавила британские чарты

В Москве построят 1,5 миллиона квадратных метров офисов

Каждый четвертый немец готов вживить себе чип

Россияне стали лидерами по покупке жилья в Лондоне среди иностранцев

Немцы потеряли доверие к католической церкви

Российскому олимпийскому чемпиону подарят квартиру

Sony объявила дату выхода God of War III в Европе

Жак Рогге утвердил победу Лайсачека над Плющенко

Суд Ниццы отказался вернуть Прохорову залог за королевскую виллу

Немецким безработным в целях экономии прописали холодный душ



Рассылки:
  Новости-почтой
  TV-Программа
  Гороскопы
  Job Offers
  Концерты
  Coupons
  Discounts
  Иммиграция
  Business News
  Анекдоты
Многое другое...

News Central Home | News Central Resources | Portal News Resources | Help | Login
Russian America Top Holostyak.com Рейтинг@Mail.ru © 2025 RussianAMERICA Holding
All Rights Reserved • Contact